PART 8

Behavioral_Synthesis

- Description style
- Hardware style
- Coding style











Behavioral_synthesis.style




Description style:
- State diagram style
- Program for each state












Behavioral_synthesis.style




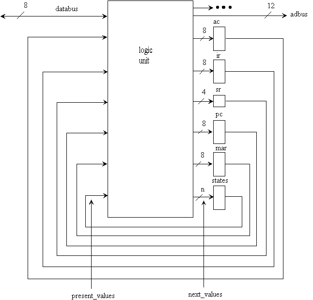
Generated hardware contains a logical unit and an array of registers

  • State register is handled like any other register
  • Clocking influences registers only
  • Number of states depends on state assignment











    Behavioral_synthesis.style



    ARCHITECTURE synthesizable ...
    state and register
    declarations
    BEGIN
    clocking : PROCESS ( clk, ... )
    BEGIN
    clocked next to present transfers
    for registers and states
    END PROCESS, clocking;
    - -
    sequencing : PROCESS ( all present values and inputs )
    BEGIN
    assigning combinational values
    setting present values with next
    CASE present_state IS
    WHEN state_i =>
    sequential program i
    conditionally set next values
    use present values for conditions
    conditionally set next state
    WHEN state_j =>
    ...
    END CASE
    END PROCESS;
    END synthesizable;


    In declarations, next and present signals are declared for all registers

  • Clocking process uses clock to transfer next to present values
  • Sequencing process contains sequential programs for each state











    Behavioral_synthesis.parwan.packages



    LIBRARY IEEE;
    USE IEEE.std_logic_1164.ALL;
    --
    PACKAGE synthesis_parameters IS
    CONSTANT single_byte_instructions : std_logic_vector (3 DOWNTO 0) := "1110";
    CONSTANT cla : std_logic_vector (3 DOWNTO 0) := "0001";
    CONSTANT cma : std_logic_vector (3 DOWNTO 0) := "0010";
    CONSTANT cmc : std_logic_vector (3 DOWNTO 0) := "0100";
    CONSTANT asl : std_logic_vector (3 DOWNTO 0) := "1000";
    CONSTANT asr : std_logic_vector (3 DOWNTO 0) := "1001";
    CONSTANT jsr : std_logic_vector (2 DOWNTO 0) := "110";
    CONSTANT bra : std_logic_vector (3 DOWNTO 0) := "1111";
    CONSTANT indirect : std_logic := '1';
    CONSTANT jmp : std_logic_vector (2 DOWNTO 0) := "100";
    CONSTANT sta : std_logic_vector (2 DOWNTO 0) := "101";
    CONSTANT lda : std_logic_vector (2 DOWNTO 0) := "000";
    CONSTANT ann : std_logic_vector (2 DOWNTO 0) := "001";
    CONSTANT add : std_logic_vector (2 DOWNTO 0) := "010";
    CONSTANT sbb : std_logic_vector (2 DOWNTO 0) := "011";
    CONSTANT jsr_or_bra : std_logic_vector (1 DOWNTO 0) := "11";
    --
    CONSTANT zero_12 : std_logic_vector (11 DOWNTO 0) := "000000000000";
    CONSTANT zero_8 : std_logic_vector (7 DOWNTO 0) := "00000000";
    END synthesis_parameters;


    Parwan synthesizable description uses synthesizable_package

  • Constants used for readability of code
  • Use the std_logic_1164 mvl9











    Behavioral_synthesis.parwan.packages



    LIBRARY IEEE;
    USE IEEE.std_logic_1164.ALL;
    --
    PACKAGE synthesis_utilities IS
    FUNCTION all_or (v : std_logic_vector) RETURN std_logic;
    FUNCTION addsub_cv (a, b : std_logic_vector; cin : std_logic; add_sub : std_logic)
    RETURN std_logic_vector;
    SUBTYPE nibble IS std_logic_vector (3 DOWNTO 0);
    SUBTYPE byte IS std_logic_vector (7 DOWNTO 0);
    SUBTYPE twelve IS std_logic_vector (11 DOWNTO 0);
    END synthesis_utilities;
    --


    Parwan synthesizable_utilities include functions and type declarations

  • all_or and addsub_cv bodies are in the package body











    Behavioral_synthesis.parwan.packages



    FUNCTION all_or (v : std_logic_vector) RETURN std_logic IS
    VARIABLE temp : std_logic;
    BEGIN
    temp := '0';
    FOR i IN v'RANGE LOOP
    temp := temp OR v(i);
    END LOOP;
    RETURN temp;
    END all_or;


    all_or ORes all its input bits

  • Implies a multi_input OR gate
  • Used for checking zero result











    Behavioral_synthesis.parwan.packages



    FUNCTION addsub_cv
    (a, b : std_logic_vector; cin : std_logic; add_sub : std_logic)
    RETURN std_logic_vector IS
    --for adding add_sub is 0, for subtracting add_sub is 1
    --left bits of a and b are sign bit
    VARIABLE r: std_logic_vector (a'LEFT + 2 DOWNTO 0); --temp result
    -- Left two bits of r are for v and c respectively
    VARIABLE c: std_logic_vector (a'LEFT DOWNTO 0); --intermediate carry
    VARIABLE a_sign, b_sign: std_logic; --sign bits of a and b
    VARIABLE cin_signed : std_logic; --complement cin for sub
    VARIABLE b_signed : std_logic_vector (b'RANGE); --complement b for sub
    BEGIN
    cin_signed := cin XOR add_sub;
    FOR i IN b'RANGE LOOP
    b_signed (i) := b(i) XOR add_sub;
    END LOOP;
    a_sign := a(a'LEFT); b_sign := b_signed(b'LEFT);
    r(0) := a(0) XOR b_signed(0) XOR cin_signed;
    c(0) := ((a(0)XOR b_signed(0))AND cin_signed)OR (a(0) AND b_signed(0));
    FOR i IN 1 TO (a'LEFT) LOOP
    r(i) := a(i) XOR b_signed(i) XOR c(i-1);
    c(i) := ((a(i) XOR b_signed(i)) AND c(i-1)) OR (a(i) AND b_signed(i));
    END LOOP;
    r(a'LEFT+1) := c(a'LEFT);
    IF a_sign = b_sign AND r(a'LEFT) /= a_sign
    THEN r(a'LEFT+2) := '1'; --overflow
    ELSE r(a'LEFT+2) := '0'; END IF;
    RETURN r;
    END addsub_cv;
    END synthesis_utilities;


    addsub_cv adds or subtracts

  • MSB bits are v and c bits
  • Combined add_sub helps resource sharing











    Behavioral_synthesis.parwan.interface



    LIBRARY IEEE;
    USE IEEE.std_logic_1164.ALL;
    --
    LIBRARY EXEMPLAR;
    USE EXEMPLAR.exemplar_1164.ALL;
    --
    USE WORK.synthesis_parameters.ALL;
    USE WORK.synthesis_utilities.ALL;
    --
    ENTITY par_central_processing_unit IS
    PORT (clk : IN std_logic;
    interrupt : IN std_logic;
    read_mem, write_mem : OUT std_logic;
    databus : INOUT std_logic_vector (7 DOWNTO 0);
    adbus : OUT std_logic_vector (11 DOWNTO 0)
    );
    END par_central_processing_unit;


    Interface and libraries for synthesizable Parwan

  • std_logic is resolved signal
  • databus is INOUT to be driver by the CPU or the memory











    Behavioral_synthesis.parwan.general_layout



    ARCHITECTURE behavioral_synthesizable

    Declarations:
    ac, ir, ..., states

    BEGIN
    Clocking process

    Sequencing : PROCESS
    CASE present_state
    .
    .
    .
    END CASE

    END behavioral_synthesizable;


    Declare registers and states

  • Update registers in clocking PROCESS
  • Condition on present_state perform register and arithmetic operations











    Behavioral_synthesis.parwan.registers



    SIGNAL ac, next_ac, ir, next_ir : std_logic_vector (7 DOWNTO 0);
    SIGNAL sr, next_sr : std_logic_vector (3 DOWNTO 0);
    SIGNAL pc, next_pc, mar, next_mar : std_logic_vector (11 DOWNTO 0);
    TYPE cpu_states IS (initial, instr_fetch, do_one_bytes, opnd_fetch,
    do_indirect, do_two_bytes, do_jsr, continue_jsr,
    do_branch);
    SIGNAL present_state, next_state : cpu_states;


    Declarations include present & next for all registers and states

  • No buses are declared
  • There are 9 CPU states
  • Use CPU_states enumeration type for the states of Parwan











    Behavioral_synthesis.parwan.clocking



    clocking : PROCESS (clk, interrupt)
    BEGIN
    IF (interrupt = '1') THEN
    present_state <= initial;
    ac <= zero_8;
    ir <= zero_8;
    sr <= "0000";
    pc <= zero_12;
    mar <= zero_12;
    ELSIF clk'EVENT AND clk = '0' THEN
    ac <= next_ac;
    ir <= next_ir;
    sr <= next_sr;
    pc <= next_pc;
    mar <= next_mar;
    present_state <= next_state;
    END IF;
    END PROCESS clocking;


    Register present states must receive values in all cases

  • Clock condition must be the last condition
  • Resetting is done synchronously
  • On falling edge of clock all next values are transferred to present











    Behavioral_synthesis.parwan.sequencing



    sequencing : PROCESS ( present_state, interrupt, databus, ac, ir, sr, pc, mar )
    VARIABLE ten_bit : std_logic_vector (9 DOWNTO 0);
    BEGIN
    next_pc <= pc;
    databus <= "ZZZZZZZZ";
    adbus <= "ZZZZZZZZZZZZ";
    read_mem <= '0';
    write_mem <= '0';
    next_ir <= ir;
    next_ac <= ac;
    next_mar <= mar;
    next_sr <= sr;


    Sequencing represents a combinational circuit

  • All next values retain values in process
  • Retaining implies latching
  • To avoid latching, set initial values to all next states











    Behavioral_synthesis.parwan.sequencing



    CASE present_state IS
    WHEN initial =>
    ...
    WHEN instr_fetch =>
    ...
    WHEN do_one_bytes =>
    ...
    END CASE;


    The sequencing PROCESS contains a CASE statement

  • Choices separate CPU states











    Behavioral_synthesis.parwan.sequencing



    WHEN initial => -------------------------------------------1
    IF (interrupt = '1') THEN
    next_pc <= zero_12;
    next_state <= initial;
    ELSE
    next_mar <= pc;
    next_state <= instr_fetch;
    END IF;
    WHEN instr_fetch => ---------------------------------------2
    adbus <= mar;
    read_mem <= '1';
    next_ir <= databus;
    next_pc <= pc + "01";
    next_state <= do_one_bytes;


    Programs for initial and instr_fetch

  • No internal bussing is specified











    Behavioral_synthesis.parwan.sequencing



    WHEN do_one_bytes => --------------------------------------3
    next_mar <= pc; -- prepare for next memory read
    IF (ir(7 DOWNTO 4) /= single_byte_instructions) THEN
    next_state <= opnd_fetch;
    ELSE
    CASE ir(3 DOWNTO 0) IS
    WHEN cla =>
    next_ac <= zero_8;
    WHEN cma =>
    next_sr(0) <= ac(7); --n flag
    next_sr(1) <= NOT all_or (NOT ac); --z
    next_ac <= NOT ac;
    WHEN cmc =>
    next_sr(2) <= NOT sr(2); --c flag
    WHEN asl =>
    next_sr(0) <= ac(6); --n
    next_sr(1) <= NOT all_or (ac(6 DOWNTO 0)); --z
    next_sr(2) <= ac(7); --c
    next_sr(3) <= ac(6) XOR ac(7); --v
    next_ac <= ac (6 DOWNTO 0) & '0';
    WHEN asr =>
    next_sr(0) <= ac(7); --n
    next_sr(1) <= NOT all_or (ac(7 DOWNTO 1)); --z
    next_ac <= ac (7) & ac (7 DOWNTO 1);
    WHEN OTHERS => NULL;
    END CASE;
    next_state <= instr_fetch;
    END IF;


    Program for do_one_bytes

  • A sequential program contains behavioral constructs
  • Each program sets next states











    Behavioral_synthesis.parwan.sequencing



    WHEN opnd_fetch => ----------------------------------------4
    adbus <= mar;
    read_mem <= '1';
    next_mar(7 DOWNTO 0) <= databus;
    IF ( ir(7 DOWNTO 6) /= jsr_or_bra ) THEN
    next_mar(11 DOWNTO 8) <= ir(3 DOWNTO 0);
    IF ( ir(4) = indirect ) THEN
    next_state <= do_indirect;
    ELSE
    next_state <= do_two_bytes;
    END IF;
    ELSE --jsr or bra, do not alter mar page
    IF ( ir(5) = '0' ) THEN -- jsr
    next_state <= do_jsr;
    ELSE
    next_state <= do_branch;
    END IF;
    END IF;
    next_pc <= pc + "01";


    Assignment to adbus and registers are done in each program

  • Use pc + "01", + is overloaded for std_logic











    Behavioral_synthesis.parwan.sequencing



    WHEN do_indirect => ---------------------------------------5
    adbus <= mar;
    read_mem <= '1';
    next_mar(7 DOWNTO 0) <= databus;
    next_state <= do_two_bytes;


    Program to handle indirect

  • Can easily be extended for indexed or other modes











    Behavioral_synthesis.parwan.sequencing



    WHEN do_two_bytes => --------------------------------------6
    IF ( ir(7 DOWNTO 5) = jmp ) THEN
    next_pc <= mar;
    next_state <= instr_fetch;
    ELSIF ( ir(7 DOWNTO 5) = sta ) THEN
    adbus <= mar;
    databus <= ac;
    write_mem <= '1';
    next_state <= initial;
    ELSIF ( ir(7) = '0' ) THEN ------ lda, and, add, sub
    adbus <= mar;
    read_mem <= '1';
    IF ( ir(6) = '0' ) THEN ---- lda, and
    IF ( ir(5) = '0' ) THEN -- lda
    ten_bit := sr (3 DOWNTO 2) & databus; --
    ELSE -- and
    ten_bit := sr (3 DOWNTO 2) & ( ac AND databus ); --
    END IF;
    ELSE ---- add, sub
    ten_bit := addsub_cv (ac, databus, sr(2), ir(5));
    END IF;
    next_sr(0) <= ten_bit (7); --n
    next_sr(1) <= NOT all_or ( ten_bit(7 DOWNTO 0) ); --z
    next_sr(2) <= ten_bit (8); --c
    next_sr(3) <= ten_bit (9); --v
    next_ac <= ten_bit (7 DOWNTO 0);
    next_state <= initial;
    ELSE
    next_state <= initial; --never happens
    END IF;


    Program for doing two byte instructions

  • Think sequentially in each state
  • Multiplex various operation results on ten_bit variable











    Behavioral_synthesis.Parwan.sequencing



    WHEN do_jsr => --------------------------------------------7
    adbus <= mar;
    databus <= pc (7 DOWNTO 0);
    write_mem <= '1';
    next_pc <= mar;
    next_state <= continue_jsr;
    WHEN continue_jsr => --------------------------------------8
    next_pc <= pc + "01";
    next_state <= initial;
    WHEN do_branch => -----------------------------------------9
    IF ( all_or (sr AND ir(3 DOWNTO 0)) = '1') THEN
    next_pc <= mar;
    END IF;
    next_state <= initial;
    END CASE;


    Last three state programs for do_jsr, continue_jsr and do_branch

  • This ends all state programs











    Behavioral_synthesis.Parwan.Parwan



    LIBRARY IEEE; USE IEEE.std_logic_1164.ALL;
    --
    LIBRARY EXEMPLAR; USE EXEMPLAR.exemplar_1164.ALL;
    --
    USE WORK.synthesis_parameters.ALL; USE WORK.synthesis_utilities.ALL;
    --
    ENTITY par_central_processing_unit IS
    PORT (clk : IN std_logic; interrupt : IN std_logic;
    read_mem, write_mem : OUT std_logic;
    databus : INOUT std_logic_vector (7 DOWNTO 0);
    adbus : OUT std_logic_vector (11 DOWNTO 0) );
    END par_central_processing_unit;
    --
    ARCHITECTURE behavioral_synthesizable OF par_central_processing_unit IS
    SIGNAL ac, next_ac, ir, next_ir : std_logic_vector (7 DOWNTO 0);
    SIGNAL sr, next_sr : std_logic_vector (3 DOWNTO 0);
    SIGNAL pc, next_pc, mar, next_mar : std_logic_vector (11 DOWNTO 0);
    TYPE cpu_states IS (initial, instr_fetch, do_one_bytes, opnd_fetch,
    do_indirect, do_two_bytes, do_jsr, continue_jsr,
    do_branch);
    SIGNAL present_state, next_state : cpu_states;
    BEGIN
    clocking : PROCESS (clk, interrupt)
    BEGIN
    IF (interrupt = '1') THEN
    present_state <= initial; ac <= zero_8; ir <= zero_8; sr <= "0000"; pc <= zero_12; mar <= zero_12;
    ELSIF clk'EVENT AND clk = '0' THEN
    ac <= next_ac; ir <= next_ir; sr <= next_sr; pc <= next_pc; mar <= next_mar; present_state <= next_state;
    END IF;
    END PROCESS clocking;
    --
    sequencing : PROCESS ( present_state, interrupt, databus, ac, ir, sr, pc, mar )
    VARIABLE ten_bit : std_logic_vector (9 DOWNTO 0);
    BEGIN
    next_pc <= pc;
    databus <= "ZZZZZZZZ"; adbus <= "ZZZZZZZZZZZZ";
    read_mem <= '0'; write_mem <= '0'; next_ir <= ir; next_ac <= ac; next_mar <= mar; next_sr <= sr;
    ten_bit := "0000000000";
    CASE present_state IS
    WHEN initial => -------------------------------------------1
    IF (interrupt = '1') THEN
    next_pc <= zero_12; next_state <= initial;
    ELSE
    next_mar <= pc;
    next_state <= instr_fetch;
    END IF;
    WHEN instr_fetch => ---------------------------------------2
    adbus <= mar; read_mem <= '1'; next_ir <= databus; next_pc <= pc + "01"; next_state <= do_one_bytes;
    WHEN do_one_bytes => --------------------------------------3
    next_mar <= pc; -- prepare for next memory read
    IF (ir(7 DOWNTO 4) /= single_byte_instructions) THEN
    next_state <= opnd_fetch;
    ELSE
    CASE ir(3 DOWNTO 0) IS
    WHEN cla =>
    next_ac <= zero_8;
    WHEN cma =>
    next_sr(0) <= ac(7); --n flag
    next_sr(1) <= NOT all_or (NOT ac); --z
    next_ac <= NOT ac;
    WHEN cmc =>
    next_sr(2) <= NOT sr(2); --c flag
    WHEN asl =>
    next_sr(0) <= ac(6); --n
    next_sr(1) <= NOT all_or (ac(6 DOWNTO 0)); --z
    next_sr(2) <= ac(7); --c
    next_sr(3) <= ac(6) XOR ac(7); --v
    next_ac <= ac (6 DOWNTO 0) & '0';
    WHEN asr =>
    next_sr(0) <= ac(7); --n
    next_sr(1) <= NOT all_or (ac(7 DOWNTO 1)); --z
    next_ac <= ac (7) & ac (7 DOWNTO 1);
    WHEN OTHERS => NULL;
    END CASE;
    next_state <= instr_fetch;
    END IF;


    Complete Parwan description

  • Part 1/2











    Behavioral_synthesis.Parwan.Parwan



    WHEN opnd_fetch => ----------------------------------------4
    adbus <= mar;
    read_mem <= '1';
    next_mar(7 DOWNTO 0) <= databus;
    IF ( ir(7 DOWNTO 6) /= jsr_or_bra ) THEN
    next_mar(11 DOWNTO 8) <= ir(3 DOWNTO 0);
    IF ( ir(4) = indirect ) THEN
    next_state <= do_indirect;
    ELSE
    next_state <= do_two_bytes;
    END IF;
    ELSE --jsr or bra, do not alter mar page
    IF ( ir(5) = '0' ) THEN -- jsr
    next_state <= do_jsr;
    ELSE
    next_state <= do_branch;
    END IF;
    END IF;
    next_pc <= pc + "01";
    WHEN do_indirect => ---------------------------------------5
    adbus <= mar;
    read_mem <= '1';
    next_mar(7 DOWNTO 0) <= databus;
    next_state <= do_two_bytes;
    WHEN do_two_bytes => --------------------------------------6
    IF ( ir(7 DOWNTO 5) = jmp ) THEN
    next_pc <= mar;
    next_state <= instr_fetch;
    ELSIF ( ir(7 DOWNTO 5) = sta ) THEN
    adbus <= mar;
    databus <= ac;
    write_mem <= '1';
    next_state <= initial;
    ELSIF ( ir(7) = '0' ) THEN ------ lda, and, add, sub
    adbus <= mar;
    read_mem <= '1';
    IF ( ir(6) = '0' ) THEN ---- lda, and
    IF ( ir(5) = '0' ) THEN -- lda
    ten_bit := sr (3 DOWNTO 2) & databus; --
    ELSE -- and
    ten_bit := sr (3 DOWNTO 2) & ( ac AND databus ); --
    END IF;
    ELSE ---- add, sub
    ten_bit := addsub_cv (ac, databus, sr(2), ir(5));
    END IF;
    next_sr(0) <= ten_bit (7); --n
    next_sr(1) <= NOT all_or ( ten_bit(7 DOWNTO 0) ); --z
    next_sr(2) <= ten_bit (8); --c
    next_sr(3) <= ten_bit (9); --v
    next_ac <= ten_bit (7 DOWNTO 0);
    next_state <= initial;
    ELSE
    next_state <= initial; --never happens
    END IF;
    WHEN do_jsr => --------------------------------------------7
    adbus <= mar;
    databus <= pc (7 DOWNTO 0);
    write_mem <= '1';
    next_pc <= mar;
    next_state <= continue_jsr;
    WHEN continue_jsr => --------------------------------------8
    next_pc <= pc + "01";
    next_state <= initial;
    WHEN do_branch => -----------------------------------------9
    IF ( all_or (sr AND ir(3 DOWNTO 0)) = '1') THEN
    next_pc <= mar;
    END IF;
    next_state <= initial;
    END CASE;
    END PROCESS;
    END behavioral_synthesizable;


    Complete Parwan description

  • Part 2/2











    Behavioral_synthesis.Parwan.simulation_&_synthesis




    Simulating Parwan in a simple testbench











    Behavioral_synthesis.Parwan.simulation_&_synthesis



    entity PARWAN is
    port (
    CLK, INTERRUPT : in std_logic ;
    DATABUS_7, DATABUS_6, DATABUS_5, DATABUS_4, DATABUS_3, DATABUS_2,
    DATABUS_1, DATABUS_0 : inout std_logic ;
    READ_MEM, WRITE_MEM, ADBUS_11, ADBUS_10, ADBUS_9, ADBUS_8, ADBUS_7,
    ADBUS_6, ADBUS_5, ADBUS_4, ADBUS_3, ADBUS_2, ADBUS_1, ADBUS_0 : out
    std_logic) ;
    end PARWAN ;

    architecture exemplar of PARWAN is
    . . .
    component FD2
    port (CD, CP, D : in std_logic ; Q : inout std_logic ; QN : out std_logic) ;
    end component ;
    . . .
    g1342 : B4I port map ( Z=>vh_619, A=>vh_621);
    g1343 : B4I port map ( Z=>vh_620, A=>vh_621);
    g1344 : IVA port map ( Z=>vh_621, A=>vh_36);
    vh_622 : FD2 port map ( CD=>vh_619, CP=>vh_38, D=>NEXT_STATE_0,
    Q=>PRESENT_STATE_0, QN=>UPRESENT_STATE_0);
    vh_623 : FD2 port map ( CD=>vh_619, CP=>vh_38, D=>NEXT_STATE_1,
    Q=>PRESENT_STATE_1, QN=>UPRESENT_STATE_1);
    vh_624 : FD2 port map ( CD=>vh_619, CP=>vh_38, D=>NEXT_STATE_2,
    Q=>PRESENT_STATE_2, QN=>UPRESENT_STATE_2);
    vh_625 : FD2 port map ( CD=>vh_619, CP=>vh_38, D=>NEXT_STATE_3,
    Q=>PRESENT_STATE_3, QN=>OPEN);
    vh_626 : FD2 port map ( CD=>vh_619, CP=>vh_38, D=>NEXT_MAR_11, Q=>MAR_11, QN=>UMAR_11);
    vh_627 : FD2 port map ( CD=>vh_619, CP=>vh_38, D=>NEXT_MAR_10, Q=>MAR_10, QN=>UMAR_10);
    vh_628 : FD2 port map ( CD=>vh_619, CP=>vh_38, D=>NEXT_MAR_9, Q=>MAR_9, QN=>UMAR_9);
    vh_629 : FD2 port map ( CD=>vh_619, CP=>vh_38, D=>NEXT_MAR_8, Q=>MAR_8, QN=>UMAR_8);
    vh_630 : FD2 port map ( CD=>vh_619, CP=>vh_38, D=>NEXT_MAR_7, Q=>MAR_7, QN=>UMAR_7);
    vh_631 : FD2 port map ( CD=>vh_619, CP=>vh_38, D=>NEXT_MAR_6, Q=>MAR_6, QN=>UMAR_6);
    vh_632 : FD2 port map ( CD=>vh_619, CP=>vh_38, D=>NEXT_MAR_5, Q=>MAR_5, QN=>UMAR_5);
    vh_633 : FD2 port map ( CD=>vh_619, CP=>vh_38, D=>NEXT_MAR_4, Q=>MAR_4, QN=>UMAR_4);
    . . .


    Parwan uses 1309 LSI 10k library cells

  • Cells are basic gates, flip-flop and mux
  • VHDL was chosen for output format
  • Can use VHDL simulator to verify synthesized circuit
  • 9 states are mapped to 4 state variables











    Behavioral_synthesis.conclusions

    1. Outline: Introduction, Organization, Outline

    2. Review: Levels of abstraction, Entity and Architecture, Signal assignments, Guarded signal assignments, Three state bussing, Process statements, Combinational processes, Sequential processes, Multiplexing, Package

    3. MSI Based Design: Use MSI parts of Part 2, Sequential multiplication, Designing the multiplier, Control and data parts, Testing the multiplier

    4. General CPU Description: Will present a high level VHDL description of a small CPU. The CPU, Memory organization, Instructions, Addressing, Utilities for VHDL description, Interface, Behavioral description, Coding individual instructions

    5. Manual Data_path Design: Will present VHDL description for manual design of data_path. Data components, Bussing structure, Description of logic, Description of registers, Bus resolutions, Component wiring

    6. Manual Controller Design: Will present VHDL description for manual design of controller. Controller hardware, VHDL style, Signals and resolutions, State descriptions, Complete CPU, Testing CPU

    7. Synthesis: Main concepts, Structural synthesis, Combinational circuits, Functional registers, State machines

    8. Behavioral_Synthesis: Will present a high level synthesizable CPU description. Synthesis style, Necessary Package, Interface, General Layout, Registers, Clocking, Sequencing, Simulation and Synthesis

    9. Dataflow_Synthesis: Will partition the CPU and synthesize each part separately. Synthesis style, Controller, Data components, Data path, Synthesized example, Conclusions





    to the top of the document